منظومات الوقاية الكهربية فى محطات التحويل الكهربائية Protective Schemes


الدرس السابق:نظم التحكم الحديثة في محطات التحويل الكهربائية (Substation Automation System)


منظومات الوقاية الكهربائية فى محطات التحويل Protective Schemes

   توجد داخل محطات التحويل جميع أجهزة الوقاية الخاصة بحماية عناصر الشبكة الكهربائية مثل خطوط النقل والمحولات وقضبان التوزيع والـ Reactors وخلافه.
   وكل عنصر من هذه العناصر له منظومة حماية تتكون من عدة أجهزة وقاية بالإضافة إلى القواطع وأجهزة ال VT and CT الخاصة بهذا العنصر. وكل هذه المنظومة توضع داخل محطات التحويل فى غرفة التحكم كما فى الصورة أسفله:

Digital Relays

    وفى هذا الدرس سنكتفى فقط بوضع نموذجين لمخططات منظومة الوقاية لأحد المغذيات (شكل1) ومنظومة الوقاية للمحول (شكل 2) حيث يظهر على المخطط فقط أرقام أجهزة الوقاية المستخدمة فى حماية هذا العنصر . والأمثلة مأخوذة من كتالوج إحدى الشركات المصنعة لأجهزة الوقاية الرقمية.

1.منوذج لمنظومة حماية أحد المغذيات

The F35 feeder protection system provides feeder protection, control, monitoring and metering in an integrated, economical, and compact package. 

Feeder Protective Scheme


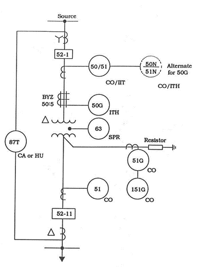
2.نموذج لمنظومة حماية المحول.

The T60 transformer protection system is a comprehensive three-phase transformer relay designed to protect medium and large power transformers.

  •  Dual-slope, dual-breakpoint differential restraint characteristic, restrained and unrestrained differential 
  •  2nd harmonic inrush and over excitation inhibit 
  •  Transformer over excitation protection 
  •  Restricted ground fault 
  •  Loss-of-life, aging factor, hottest spot 
  •  Five zones backup distance protection with power swing detection and load encroachment function 
  •  Synchro check, ROCOF, over and under frequency



الدرس القادم:وسائل الاتصالات بمحطات التحويل الكهربائية.

تعليقات
ليست هناك تعليقات
إرسال تعليق